建筑成本投资数据模型白皮书
百富策略白菜网-百富策略网站论坛|百富策略免费手机论坛|白菜全讯0008|最全白菜网|
联合发表版
2022年5月
白皮书序言
早在2004年,北京金融街丽兹卡尔顿六星级酒店项目。当时没有深化设计图纸和指标,业主方金融街控股提出,这是一个高端的六星级酒店,丽兹卡尔顿酒店的品牌非常有名,酒店投入庞大,能不能给出一个准确的投资方案。我们当时从香港派来一个团队,将每个房间精确到每一个马桶浴缸、每一个吊顶和机电配置,到大堂、西餐厅中餐厅、SPA、会议室等的适配品牌、价格、量价清单等等,以模型方案的方式采用全部都提供出来。在那个时候,我们已经开始进行模型方案,但当时并不是每个业主有如此深入的要求。
另一个住宅类的代表项目。在2007年,南京市政府的河西新城的经济适用房、中低价房和廉租房等保障用房项目。当时这个项目规模总计是152万平方米,非常庞大,施工现场200多个塔吊一望无际。这个项目最大特点,是项目庞大和政府决算算的时间比较晚,一般情况下要竣工两年或者三年才能完成结算和决算。这个项目是中冶科工集团投资,中冶置业集体负责实施的(相当于EPC项目);我们提出来希望提供投资数据模型方案,把整个项目包括土建、弱电、消费、电器等机电工程、园林景观、绿化和市政工程等等的量价清单、适配品牌做一个竣工数据适配品牌量价财务模型,在工程竣工之前完成跟政府的决算;中冶置业集团按照数据模型及决算金额完成项目开发交付,过程中政府按照这个数据模型付款。我们按照这个设想完成了数据模型,得到了南京河西新城指挥部和中冶置业集体的高度认可;这个适配品牌量价数据模型,精确到了楼里的一个信报箱、室外的一条马路的路牙、排水沟做法、绿化景观的一棵树的树种、树冠树高及种植土等都列入到数据模型方案里;我们跟政府指挥部的领导表示,我们有十足的信心,竣工决算一定会按我们提供的方案来做,否则就按照合同及条款进行奖励和惩罚;最后,在南京市创造了一个先例,就是这个保障房项目在工程未竣工前就完成了结算和决算、项目过程的进度付款,竣工的时候按照数据模型验收。
综上,全过程最核心的部分,是在一开始就树立了一个非常庞大的数据刚性模型,它对控制成本非常的杰出、有效。整个投资控制的核心就是合理确定目标模型成本,这也正是我们成本数据投资模型的第一代产品和价值所在。
沙沙建筑数据财务模型的数据的过去时、现在时和将来时的三个时空理念
1、数据过去时,是指我公司依据我们公司在同类项目的积累形成的沙沙建筑数据财务模型的数据;
2、数据现在时,是指我公司依据其它公司在同类项目的建筑成本资料。按照数据模型的标准和规范完成的沙沙建筑数据财务模型的数据;
3、数据将来时,是指像中国矿业央企这样的大型矿山项目,在我们公司既没有同类项目的积累形成的沙沙建筑数据财务模型的数据,也没有其它咨询公司在同类项目的建筑成本资料的情况下,依靠中国矿业央企的过去项目和现在项目的建筑成本资料,完成未来沙沙建筑成本投资数据财务模型。
数据现在时的案例,我们在了解到广州五十亿元的恒大体育场的建设项目的时候,及时跟曾经参与过北京46亿元鸟巢项目的同行公司取得联系,意在为广州这个约50亿元恒大体育场建立沙沙建筑数据财务模型;该项目我们的模型报价为300万元,因多方面的原因而取消。但是,数据现在时的时空理念将继续推动我们的沙沙科技中心的发展。
我们在广东和北京的建筑大数据平台的沟通和调研显示,将建筑大数据科技股份公司推向市场的投资主体平台,具有很大的吸引力;很多的潜在投资者对参与投资建筑大数据科技股份公司具有极大的参与愿望;因此我们将沙沙科技从传统的全过程投资管理和工程咨询分拆出来,单独发布和分拆成科技股份公司,为将来科技公司的上市做好充足的准备。
回顾沙沙中心创建至今的收获:
我们公司是数字化转型和收益最快的公司,
我们2020年7月7日成立沙沙数据科技中心,
2021年4月我们完成了建筑成本大数据模型的知识产权证书
2020年9月份就启动了乌兹别克斯坦的沙沙建筑数据财务模型工作3.0版本,
2020年11月启动了俄罗斯联邦最高楼:444米的莫斯科国际中心项目的沙沙建筑数据财务模型;
2021年2月份启动了俄罗斯远东造船厂的大型船坞项目;
2022年4月10日中价协王中和秘书长带队到瑞杰历信行考察建筑成本投资数据模型;
2022年4月11日瑞杰历信行董事兼首席执行官李宏颀和董事兼总经理吕向前往国家住建部标准定额司向王玮副司长、林乐彬处长、林岚岚处长汇报建筑成本投资数据模型和碳排放的双碳数据模型的研究成果;
与同行竞争的彰显优势:
2020年10月参与的40万平方米西安高科综合体项目,业主在今年3月份邀请两大测量师行和瑞杰历信行进行了一次面试,最后,我们公司以建筑数据科技模型带动投资管理的理念被西安高科认为我们公司是面试最优秀的单位,并随后签署了战略采购协议。
项目收获:
2021年3月我们以投资管理和沙沙建筑数据财务模型为主理念的南京南微医学项目,在对方项目管理团队已经有招标代理和造价咨询顾问的前提下,仍然在6月份跟我 司签署了投资管理服务合同,虽然没有包括沙沙建筑数据财务模型,但是,我们公司以投资管理和沙沙建筑数据财务模型为主导的建筑科技化转型,越来越得到同行的高度认可。
央企入库:2021年1月启动的中国大型矿业央企的投资管理和沙沙建筑数据财务模型推广,也得到了中国大型矿业央企的高度认可,并已经在6月份正式启动我们公司的入库工作;中国大型矿业央企的入库,也使我们公司的沙沙建筑数据财务模型的数据的过去时、数据的现在时和数据的将来时的三个时间数据得以提高到数据的将来时发展时空。
央企战略协议和战采协议:2020年9月我们完成了跟央企中铁建国际的战略协议;2021年7月我们完成了跟西安高科的战采协议。
从第一次工业革命,到第二次工业革命,每一次工业革命都驱动着世界的经济高速发展!新时代科技,以大数据互联网、AI人工智能和无人驾驶、新能源汽车等,给世界经济带来快速发展,我们认为在基建领域、新基建及房地产领域,我们应该拥抱大数据和互联网,走入到大数据互联网的滚滚洪流之中,我们相信建筑大数据科技的星星之火可以燎原!
瑞杰历信行首席执行官
李宏颀
目录
一、概述
二、开发背景介绍
三、数据模型简介
四、数据模型工作流程
五、数据模型功能介绍
六、数据模型使用规则
七、数据模型特性应用
八、数据模型成功案例
九、附录
前言
根据《住房和城乡建设部办公厅关于印发工程造价改革工作方案的通知》【建办标〔2020〕38号】的发布,各省市地区陆续取消标准定额的更新,以北京市、广东省、江苏省等几大试点省或市进行工程造价改革。
为落实改革要求,更准确、高效的确定及管控建设工程成本,在瑞杰历信行自行研发项目成本管理平台以及核心产品“建筑成本投资数据模型”的基础上,与各省定额总站、行业协会、大型行业领军企业联合发表本白皮书。
建筑成本投资数据模型,通过数据化新思维,以数据驱动产业,以智能引领行业,将吸引更多同行加入到建筑大数据互联网的创新行列,并极大拓展行业的业务范围。同时此理念及产品也获得了行业同仁及诸多资深学者的肯定与支持。
一、概述
1、企业背景
瑞杰历信行,中国建设工程造价协会会员单位(CCEA),英国皇家特许测量师学会(RICS)会员单位(意味着在技术、职业道德操守和专业水平上达到国际认可的职业水平),在合同管理及成本控制、工程造价咨询领域,特别是在建筑工料测量师的建筑成本投资数据模型领域有着丰富的经验和实践案例,通过在大陆二十多年的努力,公司拥有230人的专业团队,九家子公司,已经完成工程项目总建筑面积超过8,000万平方米,总投资额超6,000亿人民币。
2017年开始建立科技数据和科技云体系;
2020年7月7日瑞杰历信行成立科技中心:沙沙科技数据中心,标志着公司的专业团队向成本的研究和成本规划的数据转型;
2021年5月“成本数据投资模型”成功上线。
2、客户群体
项目投资开发者、造价咨询公司/合同管理及成本顾问、对成本管理有需求的相关企业等,并逐步向市场建筑材料和设备的适配品牌目录延申至不同建筑项目的建筑材料和设备品牌适配名录清单,完成向建筑大数据互联网转型。
二、开发背景介绍
随着目前房地产类项目开发节奏的逐步加快,多数项目从立项到开工的时间要求越来越紧迫。部分房地产开发项目甚至要求在获取土地使用权后三至六个月内要达到预售条件,这样对项目初期的定位决策和成本设计及规划就变得尤为重要。
而在此阶段往往更多的是根据投资人团队的项目经验,通过一系列指标来计算项目的成本、投资、收益。而往往在项目方案多样性对比选择上,需要花费较大的精力去调整不同业态组合等等导致成本变化,而对方案决策的时间和各种不确定性风险也相对增加。在此并没有可以快速应用的系统工具,能够提供有效的数据支持并协助投资人完成快速决策。
我们通过对瑞杰历信行二十多年积累的项目投资成本结算数据进行分析,将一个个完整项目包括前期、基础设施、建安、财务、管理、销售等各个环节的投资数据资料,通过特定数据归类方式,搭建模块化清单数据库。
再通过计算机技术,实现在较短时间内快速精准的完成拟建项目的建筑成本投资数据模型,并可以根据投资人意向调整项目不同材料档次、不同业态组成等等条件下形成多个方案之间成本及收益的差异对比分析,来协助投资人确定项目的准确定位。
三、数据模型简介
建筑成本投资数据模型管理简明介绍
通过大量项目从立项开始直至竣工结算的多维度投资成本数据积累,通过数据清洗及分类筛选后导入数据库。
新项目起始阶段,通过计算机技术实现历史案例的数据全程规划指导新项目成本管理过程中的每一步工作。
建筑成本投资数据模型建立的基础思路:
1)、以总定分,以终为始,不谋全局者不足以谋一域。
数据模型,是以总投资的精准,来决定每个分项的精准,即:在确保总投资及收益/收益率的前提下,以总项成本确定分项成本,以竣工结算或者决算数据决定项目投资数据模型。
2)、运用统计学,以数字判断未来。
统计学是“上帝的视角”。运用历史建筑工程数据,包括当前的施工工艺流程、功效水平,以同类项目历史数据且为完整数据,建立数据模型,结合科学方法预测,以此判定未来。
成本管理平台及数据模型功能简介页面
四、数据模型工作流程
具体建立方式包括:
1、建立数据库,将数据标准化。
不同的项目清单形式存在千差万别的差异,通过将不同项目清单工程量涵盖的工作内容、清单单价的组成分别进行标准的定义,使得进入数据库的清单标准是统一的。除此之外每一项清单的还都关联了各类时间属性(招标时间、施工时间、结算时间)、项目位置等其他非工程信息参数,为后续自动匹配调整做准备。
2、清洗历史数据,然后分类标记录入数据库。
每个开发企业都有各自相对独立的合约体系,每个合同的范围、界面都会有适用各自项目的一套合约体系。但通过合约这一层级的数据对比,我们无法获得口径一致且能用于精准对比或适配的数据。
所以我们从便于同类数量统计、指标统计、调价便捷等数十条标准对清单重新划分,将一个完整项目涉及全专业的清单拆分为57个清单合集,每一个清单合集的范围是完全统一的,即脱离了不同合约体系的束缚。
3、建立数据相关性分析体系,引入客观性数据对标客体。
我们通过计算机技术来快速实现一个拟建项目全部清单的组成,原理就是通过匹配清洗后的标准清单数据库中相似度高的项目,通过系统内置不同清单合集的算法,再通过项目的重要参数差异调整(规模、时间、地理位置等)生成拟建项目的数据模型。并通过相关性分析等多维度印证生成拟建项目数据的准确性。
4、工程立项同时,建立该项目的成本数据模型。
非常明确细致的说明该项目的总价、分项工程价格,以及提供每一个预估子项的数量和单价,及其对应工艺做法、材料品牌范围建议等内容。
投资人如果有不同需求,也可以按照其要求组合成适应各自企业合约体系的清单形式。
五、数据模型的功能介绍
数据模型可实现以下主要功能:
项目信息较少的情况下,由系统快速搭建出数据模型,可以直观的展示拟建项目在不同方案选择下的成本数据以及投资收益分析、协助投资人对项目定位、财务规划等工作的进一步开展提供支持。
也可以用于指导设计进行方案比选,在成本可控范围内选定最优方案、以及提供项目招采阶段的各类材料设备品牌限定等等。是开展精细化成本管理的一个基础。
建筑成本投资数据模型在项目各阶段的主要功能及应用:
规划阶段
1、通过数据库匹配案例搭建项目数据模型,推演规划许可范围内不同业态组成、不同产品档次组合下项目的预期投资收益;
2、确定项目产品及开发周期后,完成整个项目建安成本、财务成本、管理成本、销售成本的数据模型。作为指导项目推进的标尺。
3、根据自有资金、开发周期及预期售价的调整,在固定利润/利润率的前提下优化/提升项目成本;
4、根据拟建项目的不同特征,结合开发企业自身供应商储备情况等,生成合约规划建议。并结合开发周期生成项目整体招采计划。
设计阶段
5、根据数据模型规划结果,对各项设计招标及合同提出限定要求。对建筑布局、结构形式、限额指标、机电系统配置等进行详细约定,指导设计工作推进。
6、将设计概算/方案测算与数据模型进行对比,超出模型成本范围的进行方案优化、材料替换等措施。
招标阶段
7、合约形式及合同版本的建议。
8、招标准备阶段,对拟选用材料品牌进行筛选,对超出数据模型规定以外的品牌进行分析,如调研后拟选用品牌档次/价格/供货周期等综合评定超出规划设定,需调整至模型要求范围内。
9、列举数据库同类案例变更洽商及索赔内容进行整理建议。完善合同条款、方案图纸或增加预控方案,避免同类内容再次造成额外成本增加。
10、发标前进行清单参考价的评审,再次确认招标方案满足模型规划要求。
11、评标过程中,通过对系统统计的单项金额占比较大的列项进行重点分析,对存在的不平衡情况组织策略性谈判。
施工阶段
12、变更审核按照事项审核、费用审核、完工确认等多方位管理,变更在事项审核阶段增加评审工作,结合数据库案例对变更的必要性及经济性进行分析。
13、规划项目参与各方对变更审批、付款审批流程及审核时间限制,线上平台的应用将流程透明化,彻底解决变更、付款的申报、审核经常未能按照合同约定时效执行的弊病。
14、电子文件存档及数据采集的一体化处理,项目文件自动归档,台账自动生成,历史记录循迹可查。
15、对合同约定调差材料自动进行价格收集,根据施工进度提供测算数据。
16、每周自动提供项目动态成本数据,每月提供模型对比财务报告。对成本超出安全线的专业工程/分项工程进行分级预警,并列举不同警示级别下的预处理方案。
结算阶段
17、对项目进程中发生的特殊事件(包括索赔与反索赔事件)标记插入点,依据合同及数据库案例处理方案预估对项目整体影响,整理结算谈判依据。
18、自动归集已签约合同/补充协议、完工确认变更洽商等内容,实时体现项目预计结算金额。
六、数据模型的使用规则
数据模型操作说明
1) 登录网址:
http://8.140.174.215:10172/index.html#/login,
如图1-1:
图1-1 登录界面
2) 在登录界面(图1-1)输入用户名及密码后,进入成本数据模型管理平台,如图1-2:
图1-2 成本数据模型管理展示平台
目前系统规划分九个模块,从数据模型、目标成本、合约规划到招标、变更、付款、结算管理等等分别进行不同的功能设定。
1. 数据库采集
√ 功能描述
根据设定的数据库结构形式(详下述准备工作),将现有案例数据,通过手动的方式录入系统,作为后续项目模型建立的基础数据。
√ 准备工作
①首先为了便于各项目之间数据对比分析,需将原各项目的合约规划按照“分部工程”拆分到近50项具体清单章节,如图2-1所示,具体的“分部工程”清单模板详附件1。
图2-1 拆解清单框架
② 以分部工程-石材幕墙工程为例,项目编码、项目名称、项目特征描述、计量单位、工程量需与原项目清单保持一致并一一对应填写到模板清单中,如图2-2、2-3所示:
图2-2 原项目工程量清单
图2-3 模板清单工程量填写示意
③ 模板清单中所示综合单价,为除措施费外全费用综合单价,即需从原项目综合单价分析表中拆分为人工费、材料费(主材费+损耗+辅材费)、机械费、管理费、利润、规费(如有)、风险(如有)、其他(如有)、税金。如图2-4、2-5所示:
图2-4 原项目综合单价分析表
图2-5 模板清单综合单价填写示意
④ 补充说明:
√模板清单中,综合单价及合价均设置好链接,输入数据后自动计算汇总,无需手动修改;
√如原项目清单中明确材料品牌,需相应填入模板清单中;
√若分项工程为综合清单项(如上述花岗岩石材幕墙,主材包含石材、铝型材、保温等),无法明确主材费、损耗量、辅材费等,可直接填写材料费,不再另行拆分;
√若该分部工程仅为供应(或安装)工程,相应人工费(或材料费)空白不填写即可;
√整个分部工程录入完毕,注意将合价与原项目合价进行校核,即模板清单合价=原项目分部分项金额+规费+税金,误差小于1%可忽略;
√模板清单中首行不可填写数据,系统默认首行为汇总行;
√ 项目导入
① 进入成本数据模型管理平台后,点击【模型管理】→【创建模型】→【手动创建项目】,如图2-6所示:
图2-6
② 进入手动创建模板后,根据对话框提示分别录入实际项目情况,注意“项目名称”命名规则为“1地区+2业主简称+3项目全称+4分期(例如:天津金融街东丽湖项目二期)”,具体如图2-7:
图2-7(1)
图2-7(2)
图2-7(3)
③项目信息录入完成后,点击下一步,进入分部清单管理界面,此界面呈现内容包含图2-1所示全部章节清单。此时需将准备好的标准模板清单通过【导入表单】导入系统,注意当前界面措施费比例为默认值,需根据实际项目比例手动修改,如图2-8(以石材幕墙工程为例):
图2-8
④当系统提示表单添加完成,且对应分部分项工程出现汇总金额,即为该分部工程导入成功。此后重复第③步,直至全部分部清单全部导入系统后,点击【下一步】,如图2-9:
图2-9
⑤点击【下一步】后进入编制说明界面,可结合本项目实际情况进行重点内容说明,形式不限,如图2-10;最后点击【生成项目】。
图2-10
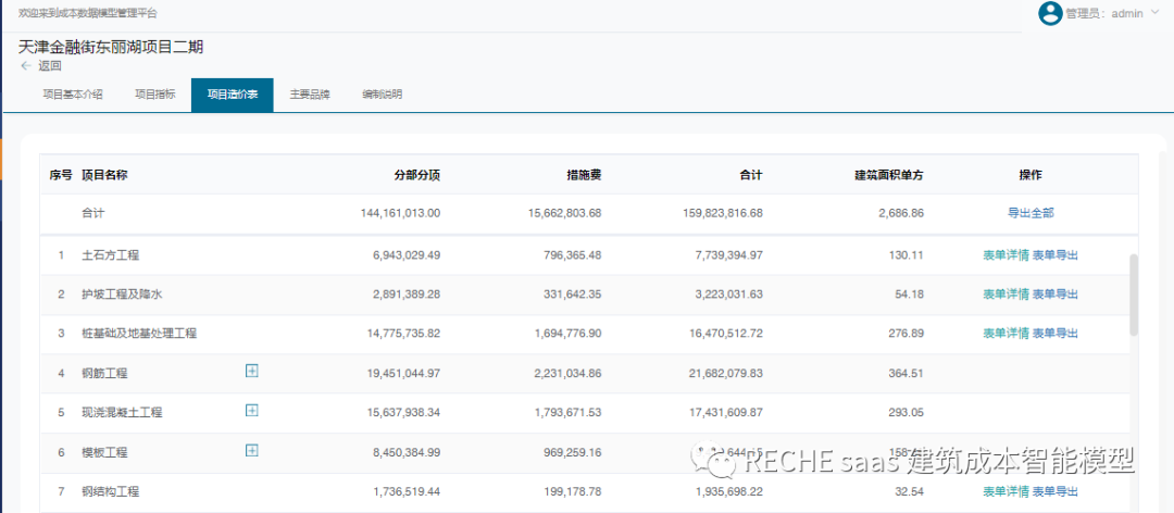
⑥点击【生成项目】后即返回模型管理主界面,此时整项工程已成功录入软件系统,可通过【查看详情】浏览项目信息,如图2-11:
√项目基本介绍,系统自动汇总分析总体造价指标及项目占比情况;
√项目含量指标,系统根据导入表单自动汇总分析主要项目指标含量;
√项目造价指标,系统根据导入表单自动汇总分析各分部工程单方指标;
√主要品牌,系统根据导入表单内容将本项目材料选型品牌集中呈现;
√编制说明,生成项目情况报告;
图2-11
√ 成果预览
图2-12
图2-13
图2-14
图2-15
图2-16
2. 模型建立
“模型建立” 即根据拟建项目要求生成一套完整的成本数据模型文件,包括手动创建、匹配创建两种方式。
2.1 手动创建
手动创建项目,即按标准格式的文件通过上传系统完成,具体操作流程同第二章-数据库采集步骤,此处不再赘述。
2.2 匹配创建
匹配创建项目,即按拟建项目信息参数自动搜索数据库内相似案例,并通过系统内置规则,自动计算并生成拟建项目成本数据。
√ 操作说明
① 进入成本数据模型管理平台后,点击【模型管理】→【创建模型】→【匹配创建项目】,如图3-1所示:
图3-1
② 进入匹配创建模板后,根据对话框提示分别录入拟建项目信息参数,具体操作指引同第二章-数据库采集→项目导入步骤②,此处不再赘述;相关界面如图3-2:
图3-2
③ 拟建项目信息录入完毕后,点击页面下方【从数据库匹配案例】,系统将提示出“匹配结果”,则可选择相似度较高的案例作为目标案例,点击【使用此数据】,如图3-3:
图3-3
④ 点击【使用此数据】后,进入“项目(成本范围)调整”界面,此时需根据拟建项目要求选择数据模型成本范围(如是否包含土石方工程)以及调整措施费比例,完成后点击【下一步】,如图3-4:
图3-4
⑤ 点击【下一步】后进入“含量调整”界面,此时可根据拟建项目情况有针对性的调整各分部工程指标含量(若拟建项目无特殊要求,可不进行调整,直接点击页面下方【下一步】即可);假设拟建项目明确涉及钢结构,且已知含量指标为20kg/m2,此时需要手动修订指标,具体操作流程为点击“部位”下拉菜单,选择相应分部工程-钢结构工程,输入对应含量0.02t/m2(涉及多项指标调整,则重复以上步骤即可),完成后点击【下一步】,如图3-5:
图3-5
⑥ 点击【下一步】后进入“价格调整”界面,包括“主要材料价格”、“品牌限定表”、“人工机械调整”三个板块;可根据拟建项目项目地点、项目规模、项目定位、开发周期有针对性的调整人材机价格水平及材料档次,调整界面如图3-6,完成后点击【下一步】:
图3-6
⑦ 点击【下一步】后进入“计费调整”界面,可根据拟建项目要求有针对性的调整管理费、利润、规费、风险、税金、其他等取费系数(其中取费基数为系统默认,不可修改),调整界面如图3-7,完成后点击【下一步】:
图3-7
⑧ 点击【下一步】后系统生成“目标案例汇总表与拟建项目汇总表”的对比页面,此时可进行数据校核并通过【导出表单】、【导入表单】等操作进行数据模型的再次修订,操作流程同手动创建。相关界面如图3-8,完成后点击【下一步】:
图3-8
⑨ 点击【下一步】后进入“编制说明”界面,可手动编辑拟建项目成本数据模型估算报告,形式不限,完成后点击【生成项目】,如图3-9:
图3-9
⑩ 点击【生成项目】后即返回模型管理主界面,此时“拟建项目”工程已成功建立模型,可通过【查看详情】浏览项目信息,如图3-10。
图3-10
√ 成果预览
包含项目基本介绍、项目含量指标、项目造价指标主要品牌、编制说明等。
七、数据模型的特性应用
1、确保设计概算的完整性
1)、有效控制设计成本。
数据模型运用在设计阶段(即项目建立之初,设计之前),主要体现在:以模拟施工控制设计成本。因其具有统计学的完整性,对设计阶段的评估,遵循以总项定分项,包罗万象之项。
具体执行方式包括:
a立项批准以后,利用成本数据模型,详细分析具体的产品等级,客户需求等。
b完成初期的设计指导文件,以保证设计的精准定位和成本控制设计。
c成本随总投资及收益/收益率的调整而动态修正,结合数据库资源进行档次提升或优化。
2)、对设计阶段的指导意义。
数据模型因其客观且完整的特性,通过在设计阶段的实践与应用,将直接控制成本在1%的精准水平上(大约6-10个项目收敛)。这是数据模型在设计阶段,独具的指导意义。
2、项目管理过程中的超支预警功能及纠偏
前面主要介绍了数据模型的客观性与完整性,除此之外,数据模型还具有另一个重要特性:精细化。
随着工程的设计深入,不仅在前期设计阶段,包括招标、施工(施工中的变更),直至施工图完成,我们的成本控制投资数据模型会随时陪伴整个全过程。修正每一次设计调整,监控每一个阶段。
在初步设计完成之后,数据模型将逐步细化。设计、招标、变更作为整体项目的一部分,通过成本管理平台的整合,将各部分纳入整体成本估算中,评估对总成本的影响,随时可掌握动态成本。从设计至施工到最终结算,项目总成本(动态成本)随时可呈现(数据可视化)。成本管理平台可随时洞察出现或可能出现的偏差,发现即预警预控。利用数据模型的细致性,完成对每一个细节偏差的预控纠偏。
需要特别关注的是:
a数据模型精准监督每一个工程招标(需要有合约规划及合约体系的配合);
b监控施工过程的每一次设计变更的审查及批准/不批准的流程;
c成本管理平台随时监控动态成本,包括可能的变化趋势,随时洞察工程预计结算的数据。
3、项目投资确认的后评估
项目投资确认的后评估,其关键点在于:以偏差评估差距。
数据模型即数据库,在项目估算时,数据库已存在。随着工程进展,如有偏差出现时(百万分之一的细致偏差),即可评估,为何会出现偏差。是估算有误,还是执行中的问题。
此时,将数据库中相同业态的此项数据模型列出,与在施项目进行对比,挖掘偏差原因,汇集收敛指标。什么是收敛指标?以酒店项目为例,可对比同类型10个项目,选出每一部分最优的数据模型,聚集结合形成最优成本模型,成为对业主及施工单位管理的收敛指标。最优收敛值,即为无限逼近最优。投资人进行投资时,可以掌握项目的收敛程度,节约程度,以及与最优收敛值的偏差是否合理,从而评估项目参与者的管理水平。
数据模型的应用宗旨,是对项目总成本的精准把控。
当这一目标得以实现,数据模型的功用还会持续延伸,我们对数据模型的研发,永不会停滞。数据模型将成为经济体系的又一个“标灯”参照系。
八、数据模型成功案例
案例一项目为某国的酒店群项目,包含2个五星级酒店,2个四星级酒店,5个三星级酒店和1个会议中心。
模型建立初期,项目尚处于概念设计阶段。建筑师只能提供规划效果图等概念性指标。结构及机电配置等情况均无法提供详细资料。
数据模型团队依托公司的数据库,寻找不同星级酒店及会议中心各自对标案例,结合项目开发时间、地域等差异因素,针对不同专业逐自进行设计方案对比调整,量身打造成本数据模型,最终为项目投资决策作出卓越贡献。
我们的产品是前台对接客户,向业主提供提供可视化的数据指标,后台可以直接导出数据。以下是数据模型的导出文件,包括:
整体投资成本汇总表:是分业态、分专业汇总的,如果是国际项目,还可以提供多语种的成果文件。
各专业的清单列表:以其中一个业态,五星级酒店为例,除常规建安项目外,还包含活动家具、艺术品、布草等内容,详尽到酒店在投入运营前需要的所有采购内容。

数据模型对应成本的材料设备品牌建议,投资者可根据项目需求调整材料设备档次标准,我们的数据模型可以进行相应的代替,实现动态调整成本。
数据模型不仅可以实现快速估算,而且基于强大的数据库资源,也能提供更为精准的成本估算。
以五星级酒店精装修清单为例,测量师根据标准五星酒店配置,拟定五种房型,300间客房,标准客房面积45m2。以及对大堂、电梯厅、宴会厅等功能区域面积设定。分别编制各区域明细清单清单。
后续设计方案确定后,该栋五星级酒店最终客房数量为298间,与模型基本一致。
案例二、某超高层综合体项目EPC投标。项目资料仅有建筑平面,占地面积8,088m2,总建筑面积34万m2,高度444m,地下3层,地上107层。
建立数据模型时参照建筑高度450-500m范围超高层为对标项目,建议整体含钢量为310kg/m2,其中钢结构含量为205kg/m2。而投标人委托的设计单位提出计划按项目整体含钢量为180kg/m2,其中钢结构90kg/m2。测量师对此提出质疑。最后经过多方论证后,由于项目资料有限,设计单位考虑欠周全,导致预估钢结构指标较少。最终各方同意按测量师建议进行投标。再一次证明了数据模型的科学性。
综上,数据估算模型,不仅仅用来协助投资者进行项目投资决策参考,模型确立后亦可用于项目执行阶段指导设计进行限额控制、项目管理阶段进行成本控制管理及偏差预警等。 通过动态结算优势,即时反馈项目成本及投资预期利润等数据,最终达到偏差率低于1%的总成本管理效果。
九、附录
数据模型标准参考文件:
《瑞杰历信行测量师标准文件---标准模板及规范文本(共13册)》
《瑞杰历信行测量师标准文件---全过程服务经典案例(共13册)》
《瑞杰历信行测量师标准文件---相关法规及参考文献(共4册)》
《瑞杰历信行总分包合同体系标准》
《瑞杰历信行信函体系标准》
《瑞杰历信行清单体系标准》
《瑞杰历信行工程指标体系标准》